一、通过集控后台
1、改绑
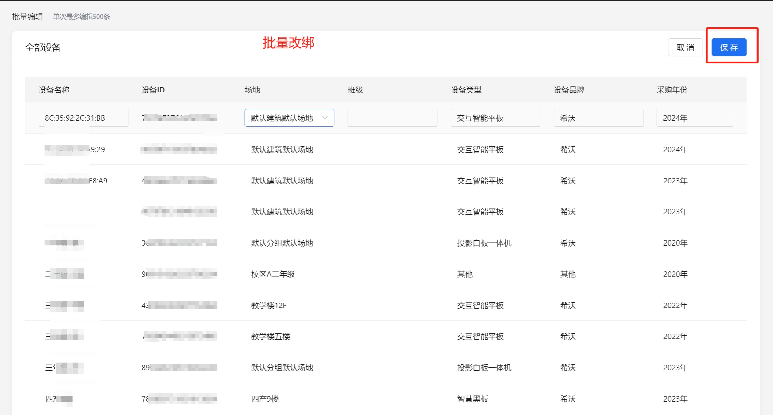
登录集控后台,进入设备管理,设备管控界面,将设备画面切换至列表模式,勾选单台/多台设备进行批量处理改绑/解绑。
2、解绑
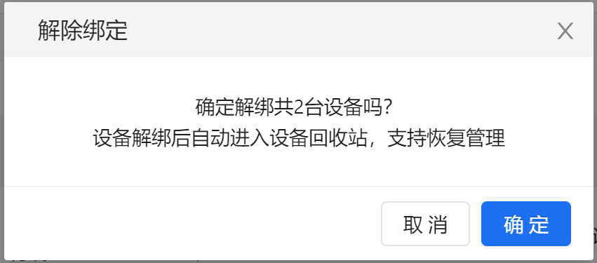
勾选单台/多台设备,点击右上角【解绑】,确认即可解绑设备。
*集控点位与设备一一对应,解绑不会释放点位,该点位仍会被设备占用。
二、通过希沃管家客户端
1、改绑
管家客户端目前不支持修改学校代码,仅可修改设备其他绑定信息
2、解绑
点击“解除关联”后,管理员扫码或者输入管理员密码即可。(管理员密码获取方式:管家/冰点密码怎么改?)
